尊龙ag旗舰官网_尊龙现金d88
手机:13988888888
电话:0898-08980898
邮箱:admin@youweb.com
地址:海南省海口市
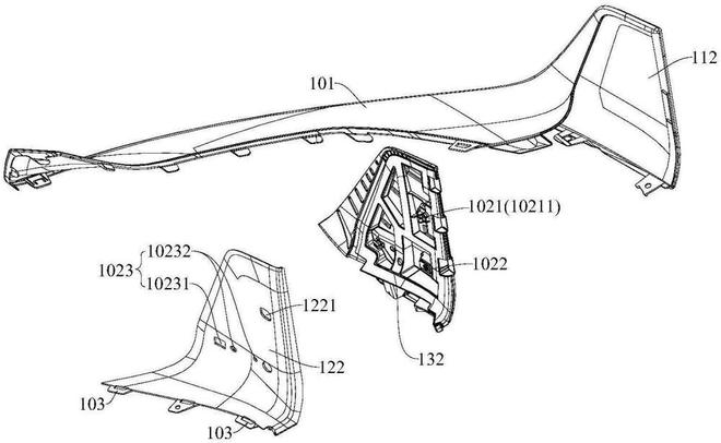
专利摘要显示,该发明所述风刀包括:主体段和延长段,对应“前铲”和“U型风刀”。小米在专利介绍中称,该发明的风刀可以提升模态性能,降低车辆行驶过程中的振动噪音,优化整车的空气动力学性能。
观察摘要图不难看出,U形风刀、大前铲、气坝等关键造型,这不就是小米SU7参数图片) Ultra标志性的带有侧边风刀的前杠嘛。除了视觉上战斗值拉爆,更重要的性能目标是实现优秀的空气动力学设计,有效增加车辆前部下压力并降低行驶风阻,提升行驶稳定性。
面向赛场开发的高性能汽车往往视觉上总能给人“带刺儿”的炸裂效果,例如“牛马”赛道版,保时捷GT系列,这是因为大量空气动力学套件的应用,能够进行有效空气扰流,对于高速行驶的汽车来说,这十分必要。
车头处的空力套件,能够实现“破风”,让车头顶风撞击进行扰流,进而按照规划路径流动,例如快速流过车身侧面,在优秀的空气动力学设计情形下,会与高速旋转的轮胎搅动形成的负压“合拢”,减少噪音的产生。
位于车头中央的气坝顾名思义,就是让流动空气快速进入车头,进而导向车身底部的大开口,配合光滑车底处的整流,进而让车底的空气快速流过,根据伯努利原理,流速较快的区域气压较低,显然空气流经路径来看,车身上部分路径长于平整的车底,因此车底的气压低于车顶,从而产下压力。
要知道急加速时,车辆重心载荷后移,前轮从运动学层面容易失去抓地力,所以前轮的下压力同样十分必要,是车辆实现贴地飞行的重要性能指标。
降低风阻,也就是空气动力学定义上的空气阻力,高速行驶的汽车,除了撞风阻力之外,行驶阻力中包含大量来自于尾部低压区。也就是前后压差造成车身后面一张无形的手,拽着车辆前行。
减小尾部的空隙和低压区,常采用两种方式,最直接有效的一种是拉长尾部,能让风有个平缓的过度,典型的就是水滴和飞机机翼造型,参考上图:奔驰EQXX概念车奇特的修长车尾。对于量产车而言,这无疑是车内实用空间的巨大浪费,更切合实际的选项是增加大尾翼,其作用就是将车尾处的“低压区”进行扰动拉长, 配合车尾“后唇”扩散扰流,形成巨大的下压力。
请注意一处细节:小米SU7 Ultra的后扰流板是电控开启并随速调节角度(0°-16°),背后都是工程团队大量仿真试验后形成的一套控制算法体现。
聊到这里,不禁想起了早前小米SU7 Ultra挖孔碳纤维机盖(碳纤维双风道前舱盖)风波,是近期热议的焦点,其争议主要集中在功能价值、用户情绪价值与价格合理性等方面。
笔者猜测这是因为SU7 Ultra开发定型并无相关工程技术设计,但后期因为原型车征战纽北成绩斐然,配合营销增加了碳纤维机盖,目的是击穿“赛道级”性能爆点。讲线万选装全碳纤维机盖在售价上也算得上了良心,但只是气氛上烘托,换取社交关注度。
品牌的成长,是需要伴随着网友的鞭策和舆论的监督,小米汽车毫无疑问具备史无前例的关注度与逆天流量,任何风吹草动都会被网友以放大镜、显微镜的态度进行解读。
纵观汽车百余年风云变幻,从最初的机械雏形到如今的智能电动时代,每一次技术突破与设计革新都凝结着无数工程师的智慧与心血。小米汽车凭借 “风刀” 专利等技术探索,展现出在空气动力学领域的钻研态度,但面对百年积淀的汽车行业,仍需以敬畏之心稳步前行,才能在汽车产业的长河中站稳脚跟,真正实现从流量到实力的跨越。
